Pišite nam
Izdelki
3V2 elektromagnetni ventil 3 potni
  • 3V2 elektromagnetni ventil 3 potni3V2 elektromagnetni ventil 3 potni
  • 3V2 elektromagnetni ventil 3 potni3V2 elektromagnetni ventil 3 potni

3V2 elektromagnetni ventil 3 potni

Sledi uvod v 3-potni elektromagnetni ventil 3V2, OLK upa, da vam bo pomagal bolje razumeti 3-potni elektromagnetni ventil 3V2. Dobrodošli nove in stare stranke, da še naprej sodelujete z nami, da skupaj ustvarimo boljšo prihodnost!

Elektromagnetni ventil 3V2 je majhen, lahek in enostaven za namestitev. Njegovo telo je izdelano iz močnega aluminija, ki je odporen proti rji in poškodbam. Ventil uporablja zanesljivo elektromagnetno tuljavo z možnostmi za napajanje DC12V, DC24V, AC110V ali AC220V.

Ta elektromagnetni ventil znamke OLK 3V2 dobro deluje za regulacijo zraka s srednjim pretokom. Preklopi hitro, porabi malo energije in zdrži dolgo. Lahko je normalno zaprt (NC), normalno odprt (NO) ali dvojni solenoid. Pogosto se uporablja v avtomatskih linijah, pakirnih strojih, tiskarskih strojih in prehrambenih strojih. Zaradi svoje majhnosti je popoln za ozke prostore.

3V2 elektromagnetni ventil 3 potni Značilnosti izdelkov

1.Neposredno delujoča struktura z občutljivim preklopom.

Velik pretok zraka 3V3 elektromagnetni ventil 3 potni Značilnosti izdelkov

3. Koaksialna izklopna zasnova za dobro tesnjenje in velik pretok.

4. Mazanje ni potrebno.

5. Opremljen z ročno preglasitvijo za enostavno namestitev in testiranje.

6. Na voljo je več standardnih napetostnih možnosti.

Simbol ventila 3V2:

Koda za naročanje

3V

2

-

08

NC

A

 

 

 

Model

Koda

 

 Velikost vrat

Igralski tip

Standardna napetost

Električni vhod

Vrsta niti

 

3V:2 položaj 3 način

Serija 2:2

 

06:G1/8

NC: normalno zaprto

A: AC220V

Prazno: TVOJ tip

Prazno: G

 

 

 

 

08:G1/4

NE: normalno odprto

B: DC24V

I: Vrsta črte

T:NPT

 

 

 

 

 

 

C:AC110V

 

 

 

 

 

 

 

 

E:AC24V

 

 

 

 

 

 

 

 

F:DC12V

 

 

 


Model

Telo

3V208

Delovni medij

Zrak (filtriran s filtrom 40 μm ali več)

Zrak (filtriran s filtrom 40 μm ali več)

Igralski tip

Neposredno igranje

Velikost vrat

G1/8

G1/4

Položaj in način

2 Položaj 3 način

Učinkovito območje

3,2 mm² (Cv = 0,18)

3,4 mm² (Cv = 0,19)

Mazanje

Ni potrebno

Območje delovnega tlaka

0 ~ 0,8 MPa (0 ~ 114 psi)

Dokazni pritisk

1,5 MPa (215 psi)

Delovna temperatura (℃)

-20 ~ 70

Material telesa

Aluminijeva zlitina

 

Standardna napetost

AC220V AC110 AC24V  DC24V  DC12V

Razpon napetosti

AC: ± 15% DC: ± 10%

Poraba energije

AC: 7VA DC: 7,0 W

Zaščitni razred

IP65 (DIN40050)

Stopnja izolacije

B stopnja

Vrsta povezovanja

Vrsta vtiča DIN/Vrsta napeljave

Najmanjši čas vzbujanja

0,05 sek


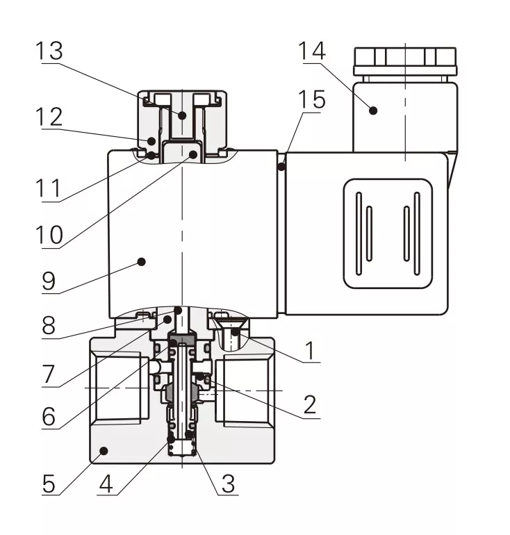
št.

Ime

1

Vgrezni vijak

2

Distančni rokav

3

Sklop jedra

4

Pomlad

5

Telo

6

Tesnilo

7

Elektromagnetni sklop

8

Batna palica

9

Tuljava

10

Premikanje železnega jedra

11

Fiksna podložka

12

Fiksna matica

13

Ročni gumb

14

Terminal

15

Tesnilo terminala


Postavka

3V1-M5/3V1-06

2V025-06/2V025-08

3V2-06/3V2-08

3V3-08

Delovni medij

zrak

Zrak, voda, olje

zrak

zrak

Začetno stanje:

NC

NC/NO

NE/NC

NE/NC

Vrsta sprožitve

Neposredno igranje

Neposredno igranje

Neposredno igranje

Neposredno igranje

Velikost vrat

M5;G1/8

G1/8;G1/4

G1/8;G1/4

G1/4

Položaj in način

3 Položaj vrat 2

2 Položaj vrat 2

3 Položaj vrat 2

3 Položaj vrat 2

Mazanje

Ni zahtevano

Ni zahtevano

Ni zahtevano

Ni zahtevano

Delovni tlak

0–0,7 MPa

0–0,7 MPa

0–0,8 MPa

0–0,8 MPa

Dokazni pritisk

1,2 MPa

1,5 MPa

1,2 MPa

1,2 MPa

Velikost odprtine

φ1,2 mm

φ2,5 mm

Φ3,2 mm/φ3,4 mm

Φ11 mm (velik pretok zraka)


pogosta vprašanja:

V: Kakšna je glavna razlika med elektromagnetnim ventilom 3V2 in 3V3?

A: 3V2: srednji pretok, primeren za majhen pnevmatski krmilni sistem

3V3: visok pretok, primeren za več jeklenk ali aplikacije z visokim pretokom.

Razlika v strukturi: 3V3 ima večje ohišje in lahko prenese višji tlak in pretok.


V: Kakšna je velikost odprtine elektromagnetnega ventila 3V2?

A: velikost odprtine ventila 3V2-06 je 3,2 mm; velikost odprtine ventila 3V2-06 je 3,4 mm


V: Katere izdelke lahko nadomesti OLK 3V2?

O: OLK 3V2 lahko nadomesti elektromagnetne ventile serije AIRTAC 3V2 z enako funkcijo in podobnimi specifikacijami.


Hot Tags: 3V2 elektromagnetni ventil 3 potni, Kitajska, proizvajalec, dobavitelj, tovarna
Pošlji povpraševanje
Kontaktne informacije
Dobrodošli na naši spletni strani! Za vprašanja o naših izdelkih ali ceniku nam pustite svoj e-poštni naslov in kontaktirali vas bomo v 24 urah.
E-naslov
cici@olkptc.com
Mobilni
+86-13736765213
Naslov
Zhengtai Road, Xinguang Industrial Zone, Liushi, Yueqing, Wenzhou, Zhejiang, Kitajska.
X
Piškotke uporabljamo, da vam ponudimo boljšo izkušnjo brskanja, analiziramo promet na spletnem mestu in prilagodimo vsebino. Z uporabo te strani se strinjate z našo uporabo piškotkov. Politika zasebnosti
Zavrni Sprejmi